Fingergrip FEU, FAU, FAC  Köpfe Fingergrip für Halter FEU, FAU, FAC

Serie

Fingergrip FEU, FAU, FAC

Köpfe Fingergrip für Halter FEU, FAU, FAC

Kostenlose Musteranfrage

2 Varianten


Sicherungseinsatz

5 x 20 / 6.3 x 32 mm

Nennspannung

250 VAC (VDE), 600 VAC/DC (UL/CSA)

Nennstrom

10 A (VDE), 20 A (UL/CSA)

Nennleistungsaufnahme IEC

4 W @ Tu 23 °C

Schutzgrad

IP40

Zulässige Umgebungstemp.

-40 °C bis 85 °C

Material: Kappe

Thermoplast, UL 94V-0

Lagerbedingungen

0 °C bis 60 °C, max. 70% r.F.

Detaillierte Informationen zu Zulassungen, Normanforderungen, Verwendungshinweisen und Prüfdetails finden Sie in  Details über Zulassungen
SCHURTER Produkte sind grundsätzlich für den Einsatz im industriellen Umfeld ausgelegt. Sie verfügen über Zulassungen unabhängiger Prüfstellen gemäss nationaler und internationaler Normen.
Produkte mit spezifischen Eigenschaften und Anforderungen wie sie etwa im Bereich Automotive nach IATF 16949, der Medizintechnik gemäss ISO 13485 oder in der Luft- und Raumfahrt gefordert werden, können ausschliesslich mit kundenspezifischen, individuellen Vereinbarungen durch SCHURTER angeboten werden.


Produktnormen

Produktnormen, welche referenziert werden

Organisation Design Norm Beschreibung
Prüfzeichen IEC_Certification_Body Ausgelegt gemäss IEC 60127-6 Geräteschutzsicherungen - Teil 6: G-Sicherungshalter für G-Sicherungseinsätze
Prüfzeichen UL Ausgelegt gemäss UL 4248-1 Industrielle Regeleinrichtungen
Prüfzeichen CSA_Certification_Body Ausgelegt gemäss CSA C22.2 no. 4248.1 Industrielle Regeleinrichtungen


Anwendungsnormen

Anwendungsnormen, in welchen die Produkte entsprechend verwendet werden können

Organisation Design Norm Beschreibung
Prüfzeichen IEC_Certification_Body Geeignet für Anwendungen gemäss IEC/UL 62368-1 Einrichtungen für Audio/Video-, Informations- und Kommunikationstechnik - Teil 1: Sicherheitsanforderungen


Konformitäten

Das Produkt ist konform mit folgenden Richtlinien

Identifikation Details Aussteller Beschreibung
Umwelt_Sicherheit RoHS_Logo_color_CMYK_tif SCHURTER AG Richtlinie RoHS 2011/65/EU, Ergänzung (EU) 2015/863
Umwelt_Sicherheit China_RoHS_e_konform_eps SCHURTER AG Das Gesetz SJ/T 11363-2006 (China RoHS) ist seit dem 1. März 2007 in Kraft. Ähnlich wie bei der EU-Richtlinie RoHS.
Umwelt_Sicherheit REACH SCHURTER AG Am 1. Juni 2007 trat die Verordnung (EG) Nr. 1907/2006 zur Registrierung, Bewertung, Zulassung und Beschränkung chemischer Stoffe 1 (kurz: "REACH") in Kraft.

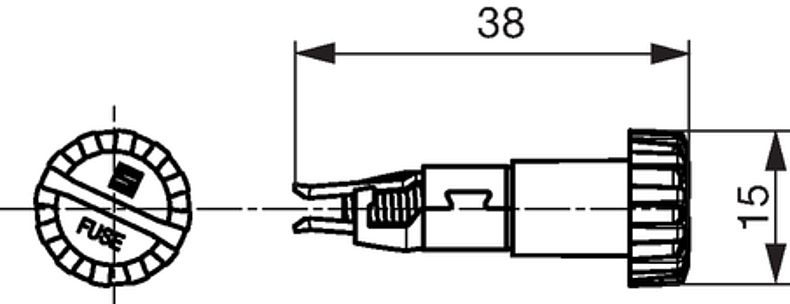
Dimension [mm]

Variante 0031.1667

Variante 0031.1741


Kurze Variantentabelle Fingergrip FEU, FAU, FAC Öffne vollständige Tabelle Fingergrip FEU, FAU, FAC

Kappe Sicherungseinsatz (mm) Farbe Bestellnummer
Symbole, PCB-Layout, 3D-Modelle Kostenloses Muster

Kostenloses Muster


Gerne stellen wir Muster für Anwendungsprüfung unkompliziert zur Verfügung.
Senden Sie uns dazu Ihre Lieferadresse mit der spezifischen Anfrage zu.

Bestandsabfrage Distributor

Bestandsabfrage Distributor


Der nachfolgende Link verweist auf die Abfrage zum aktuellen Lagebestand bei den verschiedenen Distributoren für die referenzierte Bestellnummer. Damit können Sie die verfügbare Menge prüfen und gegebenfalls gleich eine Bestellung tätigen.
Die Lagerverfügbarkeit bei den Distributoren können Sie auch separat aufrufen und das gewünschte Produkt manuell eingeben.
Lagerbestand Distributor

...
Fingergrip 6.3 x 32 schwarz 0031.1667 ...
Fingergrip 5 x 20 schwarz 0031.1741 ...

Verpackungseinheit    Plastiktüte (100 St.)

010020630000000598
LOADING...
Passender Kopf zu (3)

[Swipe to the left and right for more options]


01.09.2025
   
de prod Durch die Änderung der Katalogversion (Desktop<> Mobile), werden die gewählten Filter im Katalog zurückgesetzt