Kostenloses Muster
Gerne stellen wir Muster für Anwendungsprüfung unkompliziert zur Verfügung.
		
Senden Sie uns dazu Ihre Lieferadresse mit der spezifischen Anfrage zu.
	
  
 
        V max
72.0 VDC
Imax
40 A
I hold
1.1 - 3.75 A
Befestigung
Leiterplatte,THT
Zulässige Betriebstemperatur
-40 °C bis 85 °C
Material: Anschlüsse
Kupfer, verzinnt
Gewicht
0.67 g
Lagerbedingungen
0 °C bis 40 °C, max. 70% r.F.
Stempelung
 , Typ, Nennstrom
, Typ, Nennstrom
Lötverfahren
Welle
Lötprofil
Lötbarkeit
235 °C / 2 sec
Lötwärmebeständigkeit
260 °C / 10 sec
Passive Alterung
+85 °C, 1000 Stunden -> +/- 5% typische Widerstandsänderung
Alterung in Feuchtigkeit
+85 °C, 85% r.F., 1000 Stunden -> +/- 5% typische Widerstandsänderung
Thermischer Schock
+85 °C bis -55 °C, 10 Zyklen -> +/- 10% typische Widerstandsänderung
Vibration
MIL-STD-883C, Methode 2007.1, Messbedingung A
Lösungsmittelbeständigkeit
MIL-STD-202, Method 215
Detaillierte Informationen zu Zulassungen, Normanforderungen, Verwendungshinweisen und Prüfdetails finden Sie in 
Details über Zulassungen
SCHURTER Produkte sind grundsätzlich für den Einsatz im industriellen Umfeld ausgelegt. Sie verfügen über Zulassungen unabhängiger Prüfstellen gemäss nationaler und internationaler Normen.
Produkte mit spezifischen Eigenschaften und Anforderungen wie sie etwa im Bereich Automotive nach IATF 16949, der Medizintechnik gemäss ISO 13485 oder in der Luft- und Raumfahrt gefordert werden, können ausschliesslich mit kundenspezifischen, individuellen Vereinbarungen durch SCHURTER angeboten werden.
Durch das Zulassungszeichen bescheinigen die Prüftstellen die Einhaltung der sicherheitstechnischen Anforderungen, die an elektronische Produkte gestellt werden.
Zulassung Referenztyp: PFRY
| Zulassungslogo | Zertifikat | Zulassungsstelle | Beschreibung | 
|---|---|---|---|
|   | TUEV | Technischer Überwachungsverein | |
|   | UL | UR Ausweisnummer: E172175 | 
Produktnormen, welche referenziert werden
| Organisation | Design | Norm | Beschreibung | 
|---|---|---|---|
|   | Ausgelegt gemäss | IEC 62319-1-1 | Temperaturabhängige Widerstände aus Polymerwerkstoffen. Teil 1-1: Anwendung für die Strombegrenzung | 
|   | Ausgelegt gemäss | IEC 62319-1-1 | Geräteschutzsicherungen - Teil 2: Feinsicherungseinsätze | 
|   | Ausgelegt gemäss | UL 1434 | Thermistorartige Geräte | 
|   | Ausgelegt gemäss | CSA 22.2 No. 0 TIL No. CA-3A | Allgemeine Anforderungen - Kanadischer elektrischer Code, Teil II | 
Anwendungsnormen, in welchen die Produkte entsprechend verwendet werden können
| Organisation | Design | Norm | Beschreibung | 
|---|---|---|---|
|   | Geeignet für Anwendungen gemäss | IEC/UL 62368-1 | Einrichtungen für Audio/Video-, Informations- und Kommunikationstechnik - Teil 1: Sicherheitsanforderungen | 
Das Produkt ist konform mit folgenden Richtlinien
| Identifikation | Details | Aussteller | Beschreibung | 
|---|---|---|---|
|   | SCHURTER AG | Die CE-Kennzeichnung erklärt, dass das Produkt gemäss der EU-Vordnung 765/2008 den geltenden Anforderungen genügt, die in den Harmonisierungsrechtsvorschriften der Gemeinschaft über ihre Anbringung festgelegt sind. | |
|   | SCHURTER AG | Die UKCA-Kennzeichnung erklärt, dass das Produkt gemäss dem Britischen Amendment zur Verordnung (EC) 765/2008 den geltenden Anforderungen genügt. | |
|   | SCHURTER AG | Richtlinie RoHS 2011/65/EU, Ergänzung (EU) 2015/863 | |
|   | SCHURTER AG | Das Gesetz SJ/T 11363-2006 (China RoHS) ist seit dem 1. März 2007 in Kraft. Ähnlich wie bei der EU-Richtlinie RoHS. | |
|   | SCHURTER AG | Am 1. Juni 2007 trat die Verordnung (EG) Nr. 1907/2006 zur Registrierung, Bewertung, Zulassung und Beschränkung chemischer Stoffe 1 (kurz: "REACH") in Kraft. | 
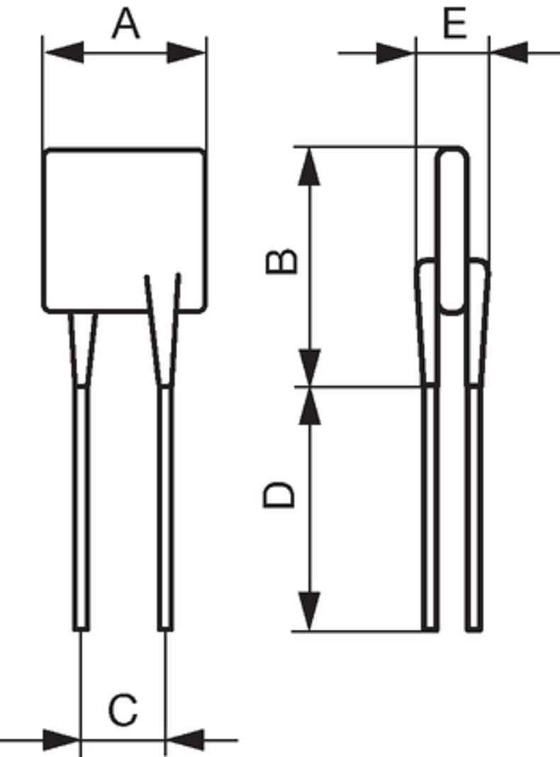
| A max [mm] | B max [mm] | C min [mm] | Bestell-Nummer | Symbole, PCB-Layout, 3D-Modelle | Kostenloses Muster Kostenloses Muster 
 | Bestandsabfrage Distributor Bestandsabfrage Distributor 
 | ... | |
|---|---|---|---|---|---|---|---|---|
| 10.84 | 16.8 | 4.4 | PFRY.110 |  | ... | |||
| 12.26 | 18.3 | 4.4 | PFRY.135 |  | ... | |||
| 13.94 | 19.9 | 4.4 | PFRY.160 |  | ... | |||
| 15.18 | 21.2 | 4.4 | PFRY.185 |  | ... | |||
| 17.84 | 23.8 | 9.5 | PFRY.250 |  | ... | |||
| 20.67 | 23.8 | 9.5 | PFRY.300 |  | ... | |||
| 23.51 | 29.6 | 9.5 | PFRY.375 |  | ... | 
| Verpackungseinheit | PFRY.xxx
 Kartonschachtel (500 St.) PFRY.xxx.2 Blistergurt (1000 St.) | 
| -40 °C | -20 °C | 0 °C | Bestell-Nummer | Symbole, PCB-Layout, 3D-Modelle | Kostenloses Muster Kostenloses Muster 
 | Bestandsabfrage Distributor Bestandsabfrage Distributor 
 | ... | |
|---|---|---|---|---|---|---|---|---|
| 1.71 | 1.5 | 1.31 | PFRY.110 |  | ... | |||
| 2.09 | 1.84 | 1.61 | PFRY.135 |  | ... | |||
| 2.48 | 2.18 | 1.9 | PFRY.160 |  | ... | |||
| 2.87 | 2.52 | 2.2 | PFRY.185 |  | ... | |||
| 3.88 | 3.4 | 2.98 | PFRY.250 |  | ... | |||
| 4.65 | 4.08 | 3.57 | PFRY.300 |  | ... | |||
| 5.81 | 5.1 | 4.46 | PFRY.375 |  | ... | 
| Verpackungseinheit | PFRY.xxx
 Kartonschachtel (500 St.) PFRY.xxx.2 Blistergurt (1000 St.) | 
| V max [VDC] | I max [A] | I hold [A] | Bestell-Nummer | Symbole, PCB-Layout, 3D-Modelle | Kostenloses Muster Kostenloses Muster 
 | Bestandsabfrage Distributor Bestandsabfrage Distributor 
 | ... | |
|---|---|---|---|---|---|---|---|---|
| 72.0 | 40 | 1.1 | PFRY.110 |  | ... | |||
| 72.0 | 40 | 1.35 | PFRY.135 |  | ... | |||
| 72.0 | 40 | 1.6 | PFRY.160 |  | ... | |||
| 72.0 | 40 | 1.85 | PFRY.185 |  | ... | |||
| 72.0 | 40 | 2.5 | PFRY.250 |  | ... | |||
| 72.0 | 40 | 3 | PFRY.300 |  | ... | |||
| 72.0 | 40 | 3.75 | PFRY.375 |  | ... | 
| Verpackungseinheit | PFRY.xxx
 Kartonschachtel (500 St.) PFRY.xxx.2 Blistergurt (1000 St.) |